
FreeScan Trak Nova双核无线跟踪激光三维扫描系统,集便携式跟踪三维扫描与大幅面激光手持三维扫描双重模式于一身。其配备无需编码点的大范围视频流摄影测量,能够更好地进行中大型工件精度把控。同时,FreeScan Trak Nova内置无线传输模块,配合内置电池可实现无线扫描,自由移动。
MORE>>
先临天远RobotScan机器人智能3D检测系统,以机器代替人工,可进行全自动、标准化三维扫描,快速获取工件的准确三维数据,并进行实时在线检测,输出检测报告。RobotScan为国内自主研发,可根据实际检测场景进行定制化开发,适用于现代工厂批量化3D尺寸检测,助力智能制造的高效高质发展。
MORE>>
AutoScan Inspec2全自动桌面三维检测系统,专注于小尺寸精密工件三维数据获取,扫描精度高达10μm,拥有高质量数据细节与高保真色彩,采用一体式外观设计,一键实现全自动多角度扫描,融合智能补扫算法,能够自动规划补扫路径获取缺漏数据,并搭载通过PTB认证的自研三维检测模块,快速完成三维扫描与尺寸检测。
MORE>>
OptimScan Q9/Q12计量级高精度蓝光三维扫描仪,延续OptimScan系列计量级精度和强大细节还原能力;集成两组高分辨率扫描模组,可实现两个不同扫描范围的一键切换,无需手动更换镜头及调焦。
MORE>>
FreeScan UE Nova大幅面高速无线激光手持三维扫仪,专为大型工件的高效、准确3D测量而研发,具有大幅面扫描、高速作业、无线传输、高精度保障等优势,适合大型工件3D测量的同时不失灵活。
MORE>>
FreeScan Omni无线一体式手持三维扫描测量仪是先临三维自主创新开发的一款具有划时代意义的产品,其采用第三代无线扫描技术,无需电脑,搭载算法通过德国PTB双重精度认证的自研工业计量三维检测模块,可实现一台设备独立完成“三维扫描+三维检测”(无需连接电脑以及电源线)。
MORE>>
• 可配置接触式测头、扫描测头和光学测头系统的 CNC三坐标测量机。
• 各轴均配备气浮导轨的动态高精度系列。
• 控制器和计算机集成于一个工作台。
• 多种规格,可为所需测量范围提供非常好的选择。

拥有了 LH 系列产品,您可以从这台运行可靠、易于操作的机器上受益于其高性能、高效率和高灵活性的测量。我们坐标测量机的成功基于其久经考验的整体设计理念,包括先进的工程设计、智能的软件、丰富的配件选择以及综合服务。稳定、可靠、高速的 LH 系列产品是一种适用于不同应用的通用灵活的测量仪器。采用目前先进的气浮轴承,温泽在精度、效率和使用寿命方面也不断取得进步。LH革新的设计树立了高机械精度、完美的人体工程学设计和动力学性能的形象。LH系列的CMM 还能为您提供标准级、高精度级和高精度优选级三个级别的精度。
MORE>>
PMT GAMMA 7轴关节臂同样提供P、M、E三种精度和7种量程规格选择,此系列在确保测量精度的同时还保障了测量的灵活性和效率,同样8轴拓展且可灵活搭载GH或GS新-代蓝光扫描头。对于寻求稳健、可靠、需求多样性的工厂或车间检测的公司,这是一款两相皆宜的选择。
使用派姆特GAMMA关节臂可通过快速地检测过程来控制质量、减少废品和提高生产效率。

PMT GAMMA 6轴关节臂提供P、M、E三种精度选择,覆盖1.5至4.5米测量范围,此系列关节臂测量精度可高达0.012mm。
全球首创外解耦内置平衡机构,性能卓越,大大降低设备使用过程中关节受力负载,显著提升了设备的稳定性和操作时的高度灵活性。此外,GAMMA全系列均支持8轴拓展可配备多种智能测头,全面满足您的多样化需求。

Quantum X 的灵活性和多功能性是关键。该系列通过了 ISO 10360(行业非常高的标准)认证,提供五种长度选项、三种精度性能级别和多种激光测头 (LLP)。新增的 FARO®8-Axis Max 是一个 8 轴旋转工作台,可将测量时间缩短达 40%,同时保持卓越的精度。
MORE>>
全新推出的 Quantum Max ScanArm 及其三款热插拔 LLP 能够满足任何测量需求,让这一传统继续发扬光大。利用可极大提升扫描速度或分辨率的选项,快速而精确地完成测量工作从未如此简单。凭借非常大的灵活性、更大的臂展范围和重新设计的具有双活动式 LLP 安装座的末端操作机构,让创造的价值和生产力可提升30% 以上。
MORE>>
全自动影像测量仪是一种高度自动化的精密测量设备,广泛应用于制造业的质量控制和产品开发中。这种测量仪结合了先进的光学成像技术、精密机械传动和计算机软件算法,能够对工件进行非接触式的尺寸和几何特征测量。全自动影像测量仪因其高精度、自动化和智能化的特点,在精密测量领域发挥着重要作用,是现代工业生产和质量控制不可或缺的工具。
MORE>>
龙门全自动光学影像测量仪是一种高精度的非接触式测量设备,主要应用于需要高精度测量的工业领域,如精密机械、电子、半导体、模具制造等行业。这种测量仪利用光学原理,通过CCD摄像机捕捉被测工件的图像,然后通过软件分析这些图像,以确定工件的尺寸、形状和位置。
MORE>>
SmartAxis系列对射测量传感器采用双远心高分辨率光学镜头,高亮度LED和远心光学系统构成的光源,提高了对场所、角度的均匀性;结合软件高精度图像分析算法、亚像素边缘提取并利用毛刺过滤算法自动去除边缘毛刺、黑色阴影及白色亮边等影响,大幅提升了测量重复性和精度;可选配的多种组合照明系统,满足用户对复杂工件的快速准确测量。
MORE>>
核心部件采用1:1成像、分辨率1200DP的接触式图像传感器集光源、镜头、光电转换芯片为一体,无论是光滑表面还是复杂纹理,都能对产品进行逐行、高速、高精度的扫描,避免由于图像畸变及边缘虚化所带来的分辨率损失问题,减轻后续图像处理环节的负担。
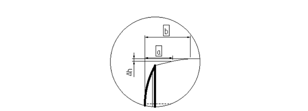
MORE>>如下图所示,在滚针轴承的生产中,母线轮廓的精度至关重要。中间段的修形和两端边缘过渡轮廓(图中△h)的微小偏差,会直接影响轴承的机械性能与使用寿命。其质量要求甚至高于一般滚子轴承。因此,在滚针的生产过程中,必须对滚针的母线轮廓实施高频测量监控。


多数企业通常对滚针母线轮廓的测量方法采用常规高精度轮廓仪进行测量。该类设备虽然能对滚针母线轮廓进行有效的测量控制,但存在测量效率低的问题,无法满足滚针高频测量监控的要求,同时对环境要求苛刻,易受产线振动、温湿度变化干扰。故采用高精度轮廓仪对滚针母线轮廓进行测量监控不是非常好的方案。

针对这一需求,威尔开发了快速高效直线度测量仪,该仪器核心优势包括:
结构紧凑,环境适应性强
威尔采用精巧紧凑的设计节省空间,对使用条件要求低,抗干扰性能出色,能稳定运行于振动、温湿度波动等复杂的生产现场。
测量高效,自动化程度高
威尔设备可在数秒内完成滚子母线轮廓测量,操作便捷,支持手动与自动多种测量方式,无需人工干预即可自动输出结果。

配置专业,结果精准可靠
威尔配备精密导轨和专用工装,确保定位一致性与测量重复性,保障数据准确、高效。

OPT(奥普特)一键测量传感器SmartFlash集成了机器视觉的边缘提取、自动匹配、自动对焦、自动学习及图像合成等人工智能技术,采用双远心光路及多角度照明系统设计,搭载高精度运动平台,并通过亚像素边缘提取算法处理图像,具有高精度四重保证措施,精度达微米级。
精准测量是支撑高质量制造的基石。先临三维的高精度工业3D扫描技术作为一种光学测量工具,凭借其高精度、高效率、非接触等优势,为高端制造的精密三维尺寸检测提供保障。当下,这项技术已经渗透至到汽车工业、航天制造、电子电器、教育科研等行业,满足了不同用户对三维尺寸检测的需求。
影像仪主要利用光学成像系统将物体的轮廓、表面特征等形成光学影像,然后通过电荷耦合器件(CCD)相机或者互补金属氧化物半导体(CMOS)相机进行图像采集。这些图像被传输到计算机软件系统中,软件会根据预先设定的测量算法和参照标准来分析处理图像,从而得出物体的各种尺寸参数(如长度、宽度、高度、直径等)、形状误差(如圆度、直线度等)以及位置关系(如孔的中心距等)。
金属材料是指金属元素或以金属元素为主构成的具有金属特性的材料的统称,包括纯金属、合金、金属材料金属间化合物和特种金属材料等,金属的成分组成是决定材料性能的主要因素,因此了解金属成分及性能,能更好地应用材料,相比于传统的滴定法、分光光度法等检测方法,X射线荧光光谱仪(XRF)具有无损分析、检测效率高、速度快等优点,是目前金属材料领域常见的分析方法。
备案号:苏ICP备2021034312号-1

